 
                     DYH41X快閉止回閥
品牌:三精閥門
產品型號:DYH41X
產品口徑:DN50-DN600mm
產品壓力:1.0/1.6Mpa
產品材質:鑄鐵、鑄鋼、不銹鋼
產品應用:清水、原水、污水
	


 
DYH41X快閉止回閥概述
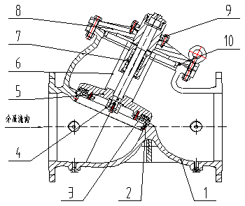
快閉止回閥主要由閥體、閥座、閥桿、彈簧、閥瓣、導套等零件組成。開泵時,閥瓣在水底推力下上升,開啟閥門,同時彈簧被簧力的作用下迅速關閉,當水流接近于0時,閥瓣完全關閉。無水倒流現象,同時因水不能倒流,不產生動能,便防止了水錘的產生。
DYH41X快閉止回閥技術性能特點
1.主閥體采用Y型膜片式結構,密封副為非金屬密封;閥門一般要求水平安裝,與管道的連接形式為法蘭連接,法蘭連接尺寸按國家標準GB/T17241.6執行。
2.由閥體、閥蓋、中心軸、銅套、閥座、閥瓣等主要零件組成,通過控制閥瓣的上下運動來實現。
3.具有水力自動控制特點,能與水泵聯鎖,在水泵停止時,起快速止回,防止水錘產生的作用。
4.密封效果良好,保證閥門泄漏量為零泄漏。
5.閥體采用Y形流線型結構,結構合理。
6.閥可實現在線維修。
7.鑄件采用先進的鑄造工藝鑄造,應有良好的表面涂漆,涂漆方式采用烤漆,涂漆顏色由買方確定。
DYH41X快閉止回閥結構示意圖
	  
 
DYH41X快閉止回閥適用范圍
1、適用于清水、原水(含泥砂)、污水、海水、油品等系統。
	2、工作壓力(MPa):PN1.0、1.6
3、使用溫度:﹣10℃~130℃ 
4、通徑:DN50~DN1000mm
5、酸堿度:強酸、強堿濃溶液除外均可用(PH值在5-10之間)。 
DYH41X快閉止回閥零件材料
| 零件名稱 | 材質 | 
| 閥體、閥蓋 | 鑄鐵、鑄鋼、不銹鋼 | 
| 閥桿 | 鉻不銹鋼 | 
| 閥瓣 | 碳鋼、不銹鋼+丁腈橡膠 | 
| O形圈 | 丁腈橡膠 | 
| 彈簧 | 不銹鋼 | 
| 導套 | 黃銅、不銹鋼 | 
DYH41X快閉止回閥外形尺寸
| 公稱通徑DN (mm) | 
 L | 
 H | D | D1 | n-d | ||||||
| 1.0 Mpa | 1.6 Mpa | 2.5 Mpa | 1.0 Mpa | 1.6 Mpa | 2.5 Mpa | 1.0 Mpa | 1.6 Mpa | 2.5 Mpa | |||
| 50 | 205 | 293 | 165 | 165 | 165 | 125 | 125 | 125 | 4-18 | 4-18 | 4-18 | 
| 65 | 216 | 328 | 185 | 185 | 185 | 145 | 145 | 145 | 4-18 | 4-18 | 8-18 | 
| 80 | 250 | 364 | 200 | 200 | 200 | 160 | 160 | 160 | 8-18 | 8-18 | 8-18 | 
| 100 | 320 | 418 | 220 | 220 | 235 | 180 | 180 | 190 | 8-18 | 8-18 | 8-22 | 
| 125 | 365 | 481 | 250 | 250 | 270 | 210 | 210 | 220 | 8-18 | 8-18 | 8-26 | 
| 150 | 415 | 543 | 285 | 285 | 300 | 240 | 240 | 250 | 8-22 | 8-22 | 8-26 | 
| 200 | 457 | 673 | 340 | 340 | 360 | 295 | 295 | 310 | 8-22 | 12-22 | 12-26 | 
| 250 | 533 | 792 | 385 | 405 | 425 | 350 | 355 | 370 | 12-22 | 12-26 | 12-30 | 
| 300 | 610 | 927 | 445 | 460 | 485 | 400 | 410 | 430 | 12-22 | 12-26 | 16-30 | 
| 350 | 686 | 957 | 505 | 520 | 555 | 460 | 470 | 490 | 16-22 | 16-26 | 16-33 | 
| 400 | 762 | 1188 | 565 | 580 | 620 | 515 | 525 | 550 | 16-26 | 16-30 | 16-36 | 
| 450 | 914 | 1218 | 615 | 640 | 670 | 565 | 585 | 600 | 20-26 | 20-30 | 20-36 | 
| 500 | 978 | 1256 | 670 | 715 | 730 | 620 | 650 | 660 | 20-26 | 20-30 | 20-36 | 
| 600 | 1200 | 1600 | 780 | 840 | 
 | 725 | 770 | 
 | 20-20 | 20-36 | 
 | 
| 700 | 1450 | 1750 | 895 | 910 | 
 | 840 | 840 | 
 | 24-30 | 24-36 | 
 | 
| 800 | 1560 | 1900 | 1015 | 1025 | 
 | 950 | 950 | 
 | 24-30 | 24-39 | 
 | 
| 900 | 1800 | 2100 | 1115 | 1125 | 
 | 1050 | 1050 | 
 | 28-33 | 28-39 | 
 | 
| 1000 | 2000 | 2400 | 1230 | 1255 | 
 | 1160 | 1170 | 
 | 28-36 | 28-42 | 
 | 
	 
	



 
 
                                 
 
 
 
 
 
 
 
 
